Bonne nouvelle, la PS3 n'est pas tout à fait morte. Après avoir lancé une mise à jour enterrant presque définitivement la console, le phénix pourrait renaître de ses cendres grâce à un nouveau brevet obtenu par Sony.
Le brevet qui va faire revivre la PS3
Pour bien comprendre, il faut revenir au 28 janvier 2021 lorsque Sony a déposé un brevet nommé « Systems and Methods for Converting a Legacy Code into an Updated Code ». En gros, ce brevet détaille comment convertir un programme rétro en une version récente, et donc lisible par un appareil moderne, telle la PS5.

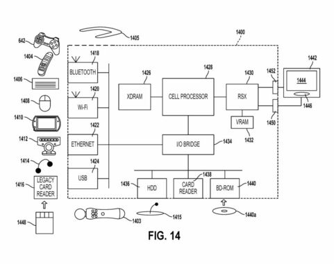
Bonne nouvelle, après plus d'un an de procédure, le brevet a finalement été validé par l’Office américain des brevets le 14 juin dernier, laissant ainsi le champ libre à Sony. Dans ce document de 52 pages est décrit le fonctionnement d'un système de rétro compatibilité, puis on peut y apercevoir des mentions spécifiques à la PS3 comme la caméra PS Eye ou encore le lecteur de cartes SD.
- Ceci peut vous intéresser : grâce au jeu le plus rare de la PS3, vous pouvez gagner 10 000 €
Une compatibilité avec la PS5 en approche ?
Honnêtement, nous aimerions beaucoup y croire mais... La prudence est de mise puisque pour l'heure, il est impossible d'affirmer qu'un projet est en route. En effet, si l'on regarde bien le brevet en question, rien n'indique clairement que le système de rétro compatibilité concerne la PS3 et la PS5.
Même si l'on peut fortement suspecter Sony d'envisager de rendre les accessoires de la PS3 rétro compatibles avec une console moderne, les éléments présents dans le brevet peuvent aussi concerner le service PlayStation Plus Premium, qui permet, entre autres, de jouer à des jeux PS3 en streaming.
- À lire également : un easter egg caché de la PS3 découvert après plus de 14 ans















