Sony travaille toujours dans l'ombre, et si le monde vidéo-ludique est actuellement fixé sur la PS5 et ses pénuries qui n'en finissent pas, l'entreprise japonaise elle pense au futur. Un tout nouveau brevet déniché renseigne d'ailleurs sur des technologies prêtes à être chargées dans la prochaine manette !
PS5 Pro : la manette se dévoile à travers un brevet
Si vous doutez de la véracité de ce genre d'infos, rappelez-vous que pleins de brevets déposés à l'époque de la Playstation 5 renseignaient bien sur des innovations que l'on a vues dans la console !
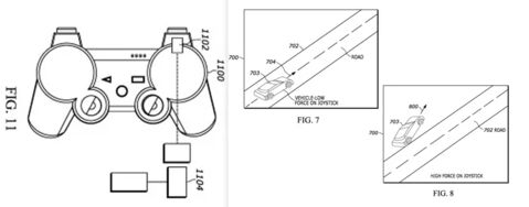
Alors lorsque l'entreprise dépose un brevet pour une manette qui reprend 80% de la DualSense, mais en changeant des éléments importants, il faut écouter ! Sur le dernier brevet déniché par la communauté, on peut voir que Sony a approfondi le sujet des retours haptiques.
Sur la manette PS5, ces retours concernent la vibration et les gâchettes. Sur la manette PS5 Pro, ils concerneront plus de sensations, et les gâchettes gagneront en tactilité. Un exemple : dans Gran Turismo 7, conduire dans une montée donnera de la résistance aux gâchettes et il faudra appuyer plus fort. L'immersion n'en sera que renforcée !
- Lire aussi : un brevet de Sony permet d'utiliser n'importe quel objet du quotidien comme manette grâce à la PS Camera qui détecte les mains des joueurs

Manettes de la PS5 Pro : vers des palettes au dos ?
D'autres brevets, plus anciens, sont à prendre avec des pincettes. En effet, Sony a déjà utilisé ces technologies puisque ce sont celles de l'ajout de palettes derrière, rajoutant 2 à 4 boutons configurables. Or, les infos d'insiders détaillent que les ventes ne seraient pas excellentes. Dur à savoir donc si la prochaine manette Playstation 5 Pro les ré-utilise !
Un dernier brevet montre, lui, une simple manette pellucide et transparente, laissant apparaître ses composants... Qui existe sur PS4 avec la manette 'Crystal' !
Quoi qu'il en soit, nul doute que Sony travaille activement à sa prochaine console et les premières informations promettent du lourd
- Une puissance démesurée grâce à un double processeur graphique
- Un aperçu des jeux en 8K, possibles grâce à cette puissance
- Des premiers designs et rendus 3D de la console dévoilés
- Un premier prix annoncé qui fait très peur aux joueurs
Quant à la date de sortie, pas de panique puisque Sony tablerait sur 2023 au plus tôt ! D'ici là, tout est amené à changer et l'annonce même de la console Pro pourrait être repoussée jusqu'à la fin des années 2020s...















