Entre les ventilateurs faisant un bruit d'avion et la surchauffe des parois pouvant faire cuire un oeuf après 2h de God of War, la PlayStation 4 a eu son lot de limitations. Un nouveau brevet pour la PS5 laisse entrevoir les innovations de SONY pour la PS5 !
Un refroidissement au... métal liquide ?
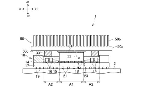
Bien que la console doit être entièrement finalisée aujourd'hui, à quelques mois seulement de sa sortie, l'entreprise japonaise en charge de son élaboration vient de déposer encore nouveau brevet. Ce dernier renseigne un système de refroidissement liquide. C'est grâce à un métal liquide, utilisé comme matériau thermoconducteur, qu'il est possible de dissiper la chaleur.
Pour déposer un brevet et ainsi réserver l'utilisation de la technologie, il faut cependant apporter quelque chose de nouveau. Or, le refroidissement liquide n'est pas inédit (les PC en ont souvent) et c'est donc au niveau des composants que SONY innove : métal liquide plutôt que solution aqueuse, ainsi que l'isolation des composants entre eux pour éviter quelconque risque mécanique.

Une technologie équipant la PS5 Pro ?
Si les consoles "classiques" ainsi que les versions sans lecteur Blu-Ray sont très probablement terminées, ce brevet n'est pas anodin et pourrait ainsi être utilisé pour l'évolution de la console dans une version plus musclée. La bête étant déjà volontairement grande et large pour laisser plus d'air naviguer dans ses entrailles, Sony a désormais une deuxième arme pour éviter la surchauffe.
Contrairement à la XBOX Series X, la communication autour de la PS5 est discrète et ne devrait donc pas révéler beaucoup de surprises avant sa sortie en novembre 2020.















